Installation de verre de douche, plan d'action
En plus de la nécessité d'assembler un receveur de douche qui maintient toute la structure, il est très important d'assembler correctement les fenêtres avant. Une fois assemblés, ils représentent un cadre le long duquel la porte se déplace et les parois arrière y sont fixées.
L'assemblage des parois arrière est un processus relativement simple, cela ne pose aucun problème, mais avec les fenêtres avant, ce sera plus difficile.
Le contenu de l'article
Un outil nécessaire pour l'installation de portes vitrées et de douches
Assembler seul les fenêtres avant est une tâche très peu pratique et qui prend beaucoup de temps. Vous devrez trouver un partenaire.
Avant de commencer le montage, recouvrez le sol avec le carton dans lequel le verre a été emballé ou avec du tissu. Retirez soigneusement le verre et ne le placez pas dans les coins.
Avant de commencer le montage, préparez les outils nécessaires :
- perceuse électrique;
- clés;
- clé hexagonale;
- niveau du bâtiment ;
- fil à plomb;
- mastic silicone;
- clignotant;
- vis autotaraudeuses;
- roulette.
La liste ci-dessus est suffisante non seulement pour installer le panneau avant, mais également pour les portes de la cabine.
Types de portes de douche
Avant de commencer toute action d'installation, vous devez comprendre les mécanismes de commande de porte les plus populaires :
- Type de balançoire. C'est l'option la plus simple à installer et la plus courante, mais elle nécessite un cadre de porte spécial et un espace libre supplémentaire pour que les portes puissent s'ouvrir. La plupart des acheteurs préfèrent ce type de design car il est abordable.
- Type de pendule. Il s'agit d'un type d'option swing. Il se distingue par l'absence d'encadrement de porte. La porte entre et sort librement. Le coût est faible et l'apparence est très impressionnante, surtout si les murs sont transparents. L'effet d'apesanteur est créé. Aucune installation de dôme ou de plateau requise. L'inconvénient de ce modèle est la possibilité d'ouverture spontanée.
- Type coulissant. Semblable aux portes d’armoires. Le mouvement de la porte est assuré par des rouleaux de guidage. Si vous avez besoin d'économiser de l'espace dans la pièce, c'est une option intéressante et courante.
- Type pliant. Extérieurement, cela ressemble à un écran. Le look est très attrayant et inhabituel, mais l'installation prend beaucoup de temps. Ce n'est pas l'option la plus courante.
Installer du verre dans la douche
Il y a cinq étapes principales dans le processus d’assemblage du verre de douche.
Première étape
Vous devez commencer l'assemblage en reliant les profils horizontaux et verticaux qui forment le cadre. Les profilés sont reliés par des vis autotaraudeuses, pour lesquelles il y a deux trous sur le côté dans les parties inférieure et supérieure.
Votre partenaire devra maintenir les profils selon un angle de quatre-vingt-dix degrés. Dans ce cas, vous devez serrer les vis avec un tournevis. Comme il y a un risque de trop les serrer, mieux vaut refuser un tournevis.
Référence. Les dimensions et la forme de la cabine de douche n'affectent pas le processus d'assemblage du cadre avant.
Seconde phase
Ensuite, vous devez installer du verre fixe dans les profilés verticaux.
Le verre doit être installé dans la rainure existante du profilé - avant cela, un joint en caoutchouc est mis en place. Il doit également être placé sur le bord inférieur du verre, qui est installé sur le profilé horizontal.
Si la longueur du joint est plus longue que nécessaire et qu'ils sont souvent fournis sous forme de bobine, vous devez alors mesurer la taille requise et la couper avec des ciseaux.
Insérez le verre avec précaution, n'utilisez pas de marteau. Si les choses ne se passent pas bien, vous devez appliquer du scellant pour aider le verre à mieux glisser.
Troisième étape
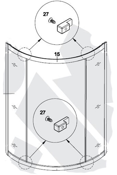
Une fois les verres fixes installés dans le profilé, ils doivent être fixés avec des vis et des attaches.
Il existe trois types de fixations. L'utilisation d'un type ou d'un autre dépend du modèle de douche :
- fixation aux coins - s'il n'y a pas de trous préparés dans le profilé, utilisez une perceuse de trois millimètres;


- fixation sur un profil étroit;

- montage sur un profil large.

Quatrième étape
S'il n'y a pas de pare-chocs en caoutchouc sur les profilés, ils doivent alors être installés.
Cinquième étape
Vous devez maintenant assembler et installer les portes. Des poignées à roulettes sont fixées à la vitre de la porte. Les rouleaux équipés de boutons de réglage sont fixés en bas.
Après cela, vous devez mettre des joints magnétiques, ainsi que des coupures d'eau.
Les portes sont suspendues au cadre avant - pour cela, les rouleaux supérieurs sont insérés dans la rainure. Après cela, la même chose est faite avec les rouleaux inférieurs - pour ce faire, vous devez maintenir les boutons enfoncés. La porte doit être ajustée pour garantir une fermeture hermétique. Cela se fait à l'aide de vis de réglage sur les rouleaux.
A ce stade, les travaux peuvent être considérés comme terminés. Vous devez maintenant installer la structure résultante sur la palette. Vous ne pouvez pas faire cela sans partenaire.La palette et le châssis ne sont pas fixés l'un à l'autre, puisque la paroi arrière est fixée au châssis et fixée à la palette. Tout cela rend la conception assez fiable.
Dans les douches individuelles, il est nécessaire de fixer le receveur au cadre avant. Mais si cela n’est pas fait, rien de catastrophique ne se produira.

