Râteau à faire soi-même pour tracteur à conducteur marchant
Râteau pour tracteur à conducteur marchant Aide à ratisser, retourner et doubler les andains d'herbe tondue. Il s’agit d’un appareil pratique et efficace qui facilite le travail des agriculteurs lors de la fenaison. Si vous faites l'effort, vous pouvez créer un bon râteau fait maison avec des caractéristiques qui ne sont pas inférieures aux modèles d'usine. Pour ce faire, vous aurez besoin d’un ensemble de matériaux et de compétences en soudage.

Le contenu de l'article
Ce qu'il faut pour fabriquer un râteau pour un tracteur à conducteur marchant
Pour fabriquer de vos propres mains un outil mécanique utile, vous devrez assembler un ensemble de matériaux. Le râteau pour tracteur à conducteur marchant est fabriqué à partir des matières premières suivantes :
- disque d'un semoir à grains ;
- bande d'acier de 170 cm de long, 4 cm de large, 1,5 cm d'épaisseur (roues) ;
- 2 plaques métalliques de 9 cm de long, 3 cm de large, 2 mm d'épaisseur (fixations cadre) ;
- anneau de retenue;
- 2 carrés de 25*25 mm (représente le support) ;
- tuyau métallique d'une section de 14 mm (axe);
- tuyau à paroi épaisse d'une section de 30 mm et d'une longueur de 140 cm (timon) ;
- fil métallique d'un diamètre de 6 à 8 mm (pièces travaillantes);
- jeu de ressorts
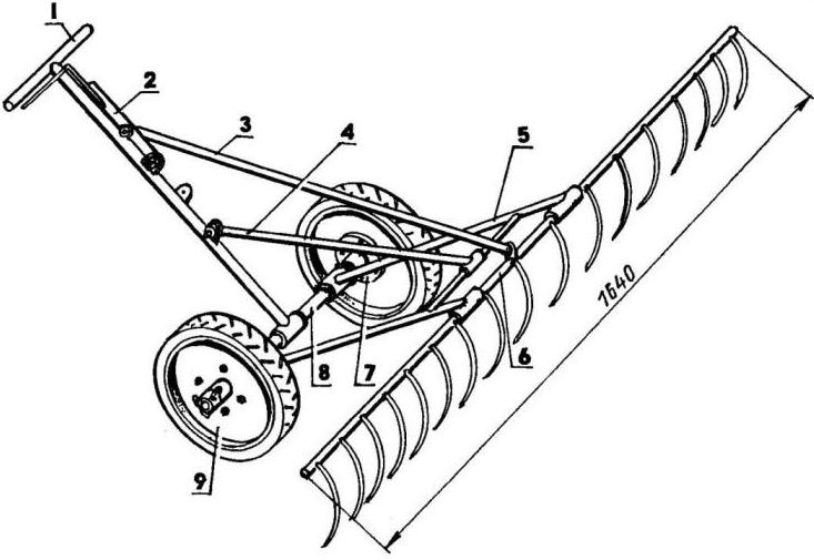
Pour concevoir correctement l'appareil, il est nécessaire de préparer un dessin du râteau. Sur celui-ci, vous pouvez voir les principaux composants structurels de l'unité. Le dispositif se compose d'un timon (1), d'un levier (2), d'une tige (3), d'une jambe de force (4), d'une béquille (5), d'un moyeu (7), d'un essieu (8), de roues (9) , et le râteau lui-même (6).

Râteau à faire soi-même sur tracteur à conducteur marchant : processus de fabrication
Nous fabriquons d’abord les roues. Nous prenons le disque retiré du semoir à grains, en retirons le roulement et insérons une tige métallique à l'intérieur. Nous enroulons une bande métallique autour du disque et la soudons à son extrémité à l'aide de coins.
Faisons la base du futur appareil. Nous enfilons le tube d'essieu dans les roues de l'appareil, en laissant 2 à 3 cm à l'extérieur. Nous fixons un anneau de verrouillage de l'intérieur et perçons un trou de verrouillage de l'extérieur. À une distance de 10 à 12 cm de chaque roue, nous fixons deux bandes d'acier sur lesquelles le cadre sera installé. Dans la partie centrale de l'essieu, nous perçons un trou pour installer le timon.
Construisons un mécanisme fonctionnel. Nous attachons des supports obliques à l'essieu de la roue. Ils doivent être situés parallèlement les uns aux autres. Nous broyons les parties saillantes avec une meuleuse.
Nous leur attachons un tuyau avec des parois épaissies - c'est le timon de la structure. Si vous prenez un tuyau pas assez épais, il risque de ne pas résister à la charge créée par le râteau. Nous attachons une boucle à l'extrémité du timon, formant un joint avec le tracteur à conducteur marchant. Nous plaçons des anneaux de verrouillage des deux côtés du tuyau afin que le râteau acquière une position stable. Nous y installons un levier qui permettra de lever et d'abaisser les dents.
Nous fabriquons des dents pour la partie active du râteau. Pour cela nous utilisons du fil de 6 mm d'épaisseur. Donnez-leur une forme en C. Nous les fixons par perçage ou soudage.
Installation d'éléments supplémentaires - le siège sur le timon et le ressort sur le levier. Lubrifiez les pièces mobiles avec de la graisse pour réduire la friction. Si les dents sont trop longues pour être travaillées, raccourcissez-les.
Nous créons un renfort pour le râteau afin d'éviter sa panne à l'avenir. Pour ce faire, prenez une plaque métallique de 15*15 cm et renforcez les nœuds faibles avec.Tout d'abord, il faut fixer les crémaillères en soudant un support au milieu. Vous devez également renforcer votre traction. Sinon, une charge de rupture élevée se produira. Une fois le processus de fabrication terminé, vous devez vérifier comment la partie active monte et descend et quelle force elle crée.

Les râteaux à foin mécaniques permettent de faire face à une quantité importante de travaux printaniers. Le modèle réalisé est universel. Il s'adaptera à toutes les marques de tracteurs à conducteur marchant. Les râteaux à chevaux, utilisés depuis l'Antiquité par les habitants des villages russes, ont été prélevés comme échantillon.

