Hamac bricolage
Le besoin de confort et de confort est caractéristique de toute personne. Comme j'ai envie, après une autre dure journée de travail, de m'allonger sur un canapé douillet et de me détendre, de regarder une série. Mais si vous voulez expérimenter un peu et avoir un peu de temps libre, vous pouvez fabriquer un hamac sans aucun problème - un attribut de confort. Une telle chose non seulement vous détendra, mais servira également d'élément décoratif dans une maison de campagne ou dans une maison privée. Aujourd'hui, vous découvrirez quels types de hamacs il existe, ce qui est nécessaire pour en créer un et comment construire un hamac vous-même.
Le contenu de l'article
L'histoire du hamac
Les Indiens vivant sur les îles des Caraïbes furent les premiers à inventer un objet aussi simple. Dormir par terre était problématique, c'est pourquoi les indigènes intelligents ont eu l'idée de construire ce qu'on appelle un hamac, dont la partie principale était une base en treillis et deux cordes aux deux extrémités. La structure elle-même était attachée aux arbres à l’aide de cordes.

Après avoir vu une telle chose, les résidents espagnols en ont pris note sans hésitation et, après un certain temps, les résidents des pays étrangers ont commencé à utiliser cette structure pratique et facile à fabriquer. Au fil du temps, le hamac a été de plus en plus modifié et chacun peut désormais choisir son article de confort pour tous les goûts.
Quelle est la meilleure façon de fabriquer un hamac à la maison ?
En ce qui concerne le type de matériau nécessaire pour un hamac, il est nécessaire de souligner qu'absolument tous les matériaux peuvent être utilisés, des feuilles de lotus aux vignes poussant sur les arbres. En la matière, tout est décidé par votre imagination et votre niveau de confort. Vous pouvez construire un hamac simple, qui ne nécessitera qu'un morceau de tissu mesurant environ 3 m sur 1,5 m et deux cordes de 3 à 4 m de long, ou vous pouvez utiliser votre imagination et le construire sous la forme d'un tapis volant.
Mais, comme le montre la pratique, l'option la plus pratique pour créer un tel objet serait un matériau dense, par exemple de la toile, du lin ou du maillage.
RÉFÉRENCE! Les synthétiques sont également un matériau durable, mais un tel tissu ne laissera pas passer l'oxygène et pendant la saison chaude, il ne sera pas très confortable d'être dans un hamac fait d'un tel matériau.
Comment fabriquer soi-même un hamac en tissu sur une barre transversale : dessins
Un hamac en tissu sur barre transversale est l'un des hamacs les plus simples. Sa production ne prend pas non plus beaucoup de temps et ne coûte pas cher.
Pour fabriquer un tel produit, vous devez vous approvisionner en matériaux suivants :
- un morceau de tissu résistant (3 m sur 2,2 m) ;
- rembourrage en polyester (50 cm);
- sangle de remorquage (5,2 x 3 cm) ;
- drisse en nylon (4 mm);
- poutre en bois (4 mm);
- papier de verre.
Outils dont vous aurez également besoin :
- règle en fer;
- crayons de couleur pour dessiner;
- scie à métaux pour le bois;
- ciseau;
- ciseaux;
- aiguilles à coudre;
- roulette;
- machine à coudre;
- fer.
Nous prenons le tissu et dessinons deux rectangles égaux de 1,5 m sur 2 m de côté à l'intérieur. Nous découpons les gabarits et les plions avec leurs parties avant face à face.

Nous nous retirons d'environ 2 cm des bords, puis nous cousons de courtes parties du tissu des deux côtés. Retournez le matériau préparé à l'extérieur. Prenez le fer et repassez les surplus de couture d'un côté.

Plus loin:
- Nous attachons l'élingue sur la majeure partie de la pièce avec un écart de 5 cm par rapport aux bords.
- On prend 4 morceaux d'écharpe mesurant 70 cm, puis à l'aide d'une machine à coudre on les cousent aux points d'attache, la partie devant tournée vers l'arrière. Cousez les bords sous les rainures des barres transversales.
- Nous cousons les côtés du hamac depuis la partie avant avec une empreinte de 30 cm.
- Nous préparons des bandes de rembourrage en polyester de 25 x 125 cm de côté, puis les poussons dans des poches préalablement préparées et cousons les bords.

Nous avons vu une poutre en bois en deux. On marque 2 cm des deux bords et on prépare une petite encoche à l'aide d'un ciseau, puis on les nettoie avec du papier de verre.

Nous insérons les barres dans les poches et les fixons avec une corde. Fait! Il vous suffit de le fixer aux arbres et vous pourrez vous détendre !
Comment faire balancer un hamac soi-même
Pour créer un objet aussi insolite et original, nous aurons besoin de :
- un morceau de tissu résistant (3 m sur 1,5 m) ;
- cerceau en métal d'un diamètre de 90 cm;
- un morceau de rembourrage en polyester (3 m sur 1,5 m) ;
- ruban de remorquage;
- craie;
- fer;
- machine à coudre;
- ciseaux.
Pour commencer, nous découpons deux carrés identiques dans un morceau de tissu de 1,5 sur 1,5 m de côté.

Plus loin:
- Pliez les deux carrés en quatre.
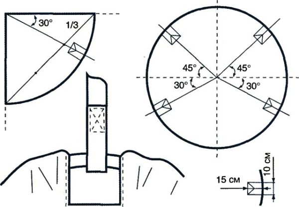
- Nous les transformons en deux cercles. Pour ce faire, tracez à la craie un cercle d'un rayon de 65 cm à partir du centre et découpez-le.
- Marquez les trous pour le ruban adhésif. Pour cela, pliez notre cercle quatre fois, puis lissez-le avec un fer à repasser pour guider les plis. La première paire de bandes sera à un angle de 45 degrés, la deuxième paire à un angle de 30 degrés.
- Nous collons le rembourrage en polyester. Placez-le entre les deux morceaux de tissu.
- Nous cousons deux couvertures égales sur une machine, puis les cousons l'une à l'autre en plaçant un cerceau entre elles.
- Nous attachons une sangle de remorquage au cerceau sur quatre côtés, en la coupant en quatre parties égales.

Nous attachons les extrémités du ruban à n'importe quelle surface à la hauteur souhaitée (arbre, poteau).

Prêt!
RÉFÉRENCE! Une telle structure ne nécessite pas une grande surface de placement et servira non seulement de coin de loisirs, mais également d'élément original de l'intérieur.
Comment construire un hamac en tissu avec des œillets
Le hamac à œillets est un modèle modifié de hamac en tissu. Sa particularité est qu'il ne comprend pas une seule corde tendue, mais un ensemble de cordes s'étendant d'une extrémité à la barre transversale.
Pour le réaliser, vous aurez besoin de :
- un morceau de tissu résistant (3 m) ;
- 22 œillets ;
- dispositifs spéciaux pour leur insertion;
- Corde de 35 mètres de 6 mm de large ;
- anneaux métalliques;
- foret et foret 12 mm;
- poutres en bois de côtés 30 sur 50 mm ;
- machine à coudre;
- fer;
- ciseaux;
- craie.
Pour commencer, on coupe un morceau de tissu, puis on le plie sur 6 cm au niveau des bords et on le coud ensemble à l'aide d'une machine à coudre. A l'aide d'un fer à repasser, lisser les bords, plier et recoudre.

À l'aide de craie, faites des marques régulières sur le tissu pour fixer les œillets. Utilisez des ciseaux pour percer des trous aux endroits désignés et fixez des œillets.

Plus loin:
- Nous prenons deux poutres en bois et, à l'aide d'une perceuse, perçons des trous égaux aux trous des œillets.
- Nous tendons la corde à travers les trous de la poutre.
- Nous attachons l'anneau à n'importe quel crochet, posons le hamac sur le sol et le fixons avec une forte presse.

Nous passons le cadre à la vapeur, passons chacune des lignes à travers l'œillet, le trou de l'entretoise et l'anneau.

Une fois le travail terminé, attachez les extrémités de la corde et suspendez le hamac.
Comment et où placer un hamac
Il existe plusieurs façons de placer des objets récréatifs et des décorations. L'un d'eux est les auvents. Cette conception est assez résistante, ce qui vous permet de vous détendre sur un hamac sans crainte.
Dans la plupart des cas, ils sont suspendus entre deux arbres à l'aide de cordes ou de cordages solides.Mais avec le temps, un hamac sur de tels supports peut s'étirer, il est donc important de savoir à quelle distance l'accrocher. La longueur entre les supports doit être d'au moins 30 cm de toute la longueur du hamac.
Comme vous pouvez le constater, fabriquer un hamac de vos propres mains n'est pas si difficile. L'essentiel est de comprendre le principe de fonctionnement d'une telle conception et de prendre le temps.

