Dimensions du fumoir pour fumer à chaud
Les fumoirs fabriqués en usine et faits maison pour fumer à chaud deviennent de plus en plus populaires de saison en saison parmi ceux qui ont l'habitude de préférer les produits faits maison. Une personne qui achète un appareil pour fumer est confrontée à un certain nombre de questions sur les critères sur lesquels s'appuyer lors du choix et ce qui mérite d'être pris en compte.
Le contenu de l'article
Comment décider de la taille d'un fumoir pour fumer à chaud
La première et principale question à laquelle l'acheteur sera confronté sera celle des dimensions de l'appareil acheté. Afin de répondre à cette question, vous devez d’abord décider pour quelle taille de poisson l’appareil est acheté. Naturellement, si le propriétaire du fumoir est un pêcheur passionné qui revient de la pêche avec une capture de plusieurs kilogrammes de gros poissons, alors un mini-fumoir ne lui conviendra pas.
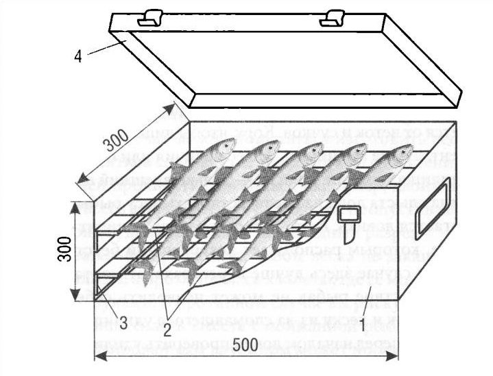
Référence! Nous parlons spécifiquement de poisson car un appareil moyen aux dimensions standards de 450x250x250 mm convient pour fumer de la volaille, des produits carnés ou du saindoux.
Il existe trois paramètres « de base » pour la taille des fumoirs :
- longueur;
- hauteur;
- largeur.
Pour fumer de gros poissons, les appareils dotés de chambres d'au moins 500 mm de long sont idéaux. La largeur est un paramètre tout aussi important, car pour un bon fumage, il doit y avoir de petits espaces libres entre les carcasses de poisson. Les appareils d'une largeur inférieure à 250 mm ne conviennent pas à de telles fins.
Quant à la hauteur, pour des volumes moyens de « matières premières », deux niveaux de grilles suffiront amplement. Pour les gros poissons, la hauteur du fumoir doit être d'au moins 300 mm.
Référence! Un autre petit avantage d'un fumoir large est que les produits qu'il contient peuvent être placés à la fois le long et sur les « côtés » pour une meilleure qualité de traitement avec la fumée.
Que devriez-vous considérer d’autre lors du choix d’un fumoir ?
D'autres critères importants pour le choix des fumoirs comprennent :
- Épaisseur du mur. Le fait est que plus les parois de la structure sont fines, plus vite elle se déforme en raison des changements de température ou des dommages mécaniques. La règle dans ce cas est simple : plus c'est épais, mieux c'est. Cependant, il ne faut pas oublier que l’épaisseur des parois influe directement sur le poids de l’appareil, et donc sur sa mobilité.
- Type de couverture. La plupart des experts conviennent que le choix optimal serait d'utiliser des couvertures en forme de « maison », car elles comportent une nervure de renforcement supplémentaire au milieu qui résiste à une éventuelle déformation.
- Lieu d'utilisation. Si un fumoir est acheté pour être utilisé dans un chalet d'été, le propriétaire n'a pas à trop se soucier de ses dimensions et de son poids. C'est une autre affaire si l'appareil est prévu pour être utilisé lors de randonnées et de pêche, où chaque kilogramme de poids en excès et chaque centimètre d'espace libre dans le transport vaut son pesant d'or. Si nous parlons de fumer à la maison, vous devez alors privilégier les dimensions standard de l'appareil, indiquées ci-dessus.
- Fréquence de tabagisme. Dans les cas où l'utilisateur n'a pas l'intention de fumer des aliments plus de plusieurs fois par saison, on peut alors privilégier les modèles économiques à parois minces. L'épaisseur de leurs parois ne dépasse généralement pas un millimètre.
Les recommandations ci-dessus vous aideront à décider de la taille et d'autres paramètres des fumoirs.

